Hyundai’den park sorununa katlanan çözüm

Hyundai’nin United States Patent and Trademark Office tarafından güvence altına alınmış katlanabilir şehir araçları patentini almış olduğu keşfedildi.
Görünüşe göre Hyundai’nin araştırma ve geliştirme merkezi tam gaz çalışmakta. Bu merkez bir taraftan IONIC gibi hybrid araçları geliştirirken, diğer taraftan da katlanabilir şehir araçlarının mühendisliğini yapıyor.
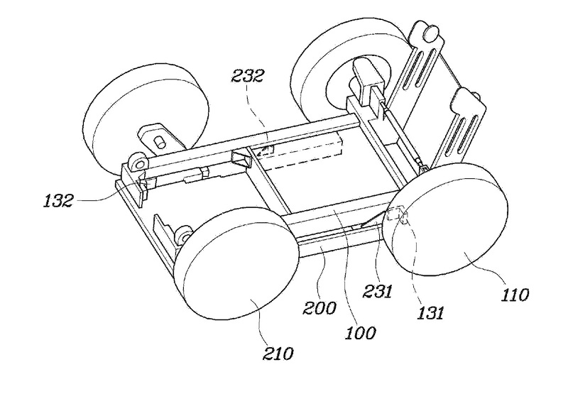
Son kısımda ekli olan resimler Hyundai’nin 14 ocak tarihli patentinden alındı. Resimlere (9,10,11 ve 12. resimler) göre aracın şasisi birkaç parçadan oluşuyor. Bu parçalı yapı sayesinde şasinin uzunluğu değiştirilebiliyor, bu da bize aracın dingil mesafesinin arttırıp azaltılabilmesini sağlıyor.
Aynı patente göre aracın ön siperlik kısmı şasinin ön kısmına, öne ve arkaya hareket edecek şekilde bağlı; aracın çatı kısmını oluşturan parçanın, siperlikten sonra gelen tavan kısmı ise; arka şasiye, yine öne ve arkaya hareket edebilecek şekilde bağlanmış. Ön siperlik ve aracın çatısının geri kalan kısmı aracın içine katlanabildiğinde; aracın çatı kısmı, aracın içine yerleştirilerek saklanabiliyor (1,2,3 ve 4. resimler).
Bu size biraz karmaşık gelebilir, o yüzden resimlere daha ayrıntılı bakarak kendiniz Hyundai’nin katlama mekanizmasının nasıl çalıştığını aklınızda daha iyi canlandırabilirsiniz. Ayrıca bu araçlar, park yeri bulmanın büyük sıkıntı olduğu şehirlerde iyi bir çözüm olabilir. Şu da var ki bu araçların bisikletlerden daha güvenli olacakları kesin.
















Çocukken düşündüğüm bir şeydi. Neyse sağlık olsun. Ama benim düşündüğüm gerçekten cep boyutuna girebilecek ve bir hayli esnek ve bir o kadar da sağlam bir maddeden yapılmış bir arabaydı. Şimdi yüzen otobüsler var ama ben yüzen arabalı resim çizmiştim ilkokulda. Yaşlanmışım ??
Haber başlığında bir sorun var gibi
Teoride iyi ama pratikte mantıksız gibi geliyor. Motoru vs. nasıl katlayacaklar. Bunlara daha çok var.